请认真阅读并同意服务协议后,再进行支付 确定

第六金!高山滑雪男子超级大回转-站姿梁景怡夺金

来源:爱奇艺体育 2022-03-06 15:04

分享到:

导语:男子超级大回转-站姿梁景怡夺金

北京时间3月6日,冬残奥会进入开幕式后第二个比赛日的争夺!今天上午残奥高山滑雪展开多项争夺!

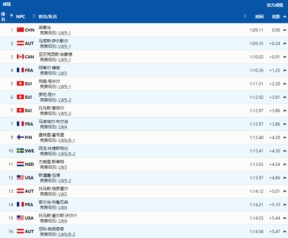
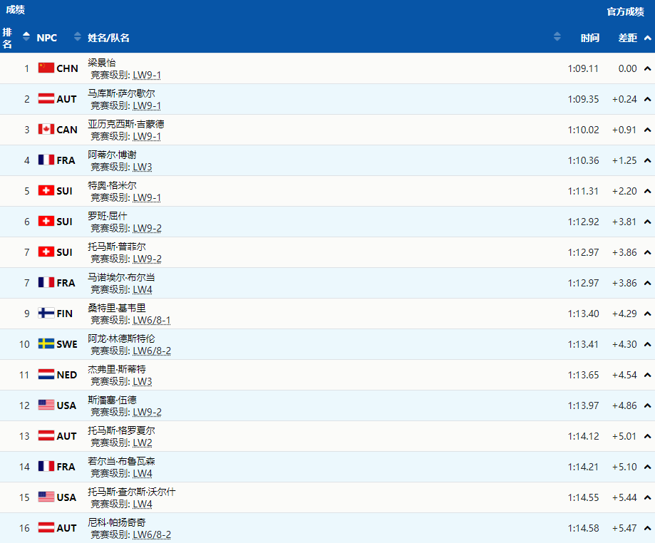
其中在男子超级大回转-站姿决赛中中国选手梁景怡力压奥地利选手0.24秒,以1:09.11的成绩惊险夺金。奥利地选手萨尔歇尔以1:09.35夺得银牌。加拿大选手吉蒙德获得铜牌。

微信截图_20220306150649.png

此外中国选手李彪、孙艳龙和孙鸿胜也都顺利完赛,他们分别位列第23名、第28名和第29名。而中国选手牛少杰遗憾未能完赛。

值得一提的是这也是中国队单日夺得的第四枚金牌,占据了今日8项夺金赛事的一半,以优异表现完美收官!

VCG31N1380960587.jpg

梁景怡夺金

分享到: